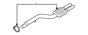
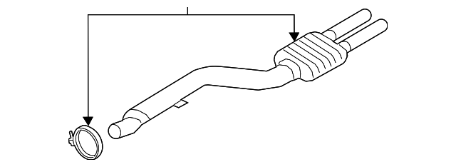
Catalytic Converter - BMW (18-30-8-572-012)
Genuine BMW Parts
- BMW
- 18-30-8-572-012
Also Purchased
Vehicle Fitment
| Year | Make | Model | Body & Trim | Engine & Transmission |
|---|
Product Reviews
Ask Our Team
REALBMWPARTS
Real BMW Parts is your trusted online resource for OEM BMW parts for all your repair and maintenance needs. Shop the full BMW parts catalog in our online store and keep your BMW performing its best. Discounted Original BMW parts from BMW dealer. Rest assured that all the BMW parts we sell are OEM.
BMW
Shop and Save on Genuine BMW Parts
